ZISW42DWA FRESH FOOD SECTION

ZISW42DWA FRESH FOOD SECTION

Products

PositionProduct
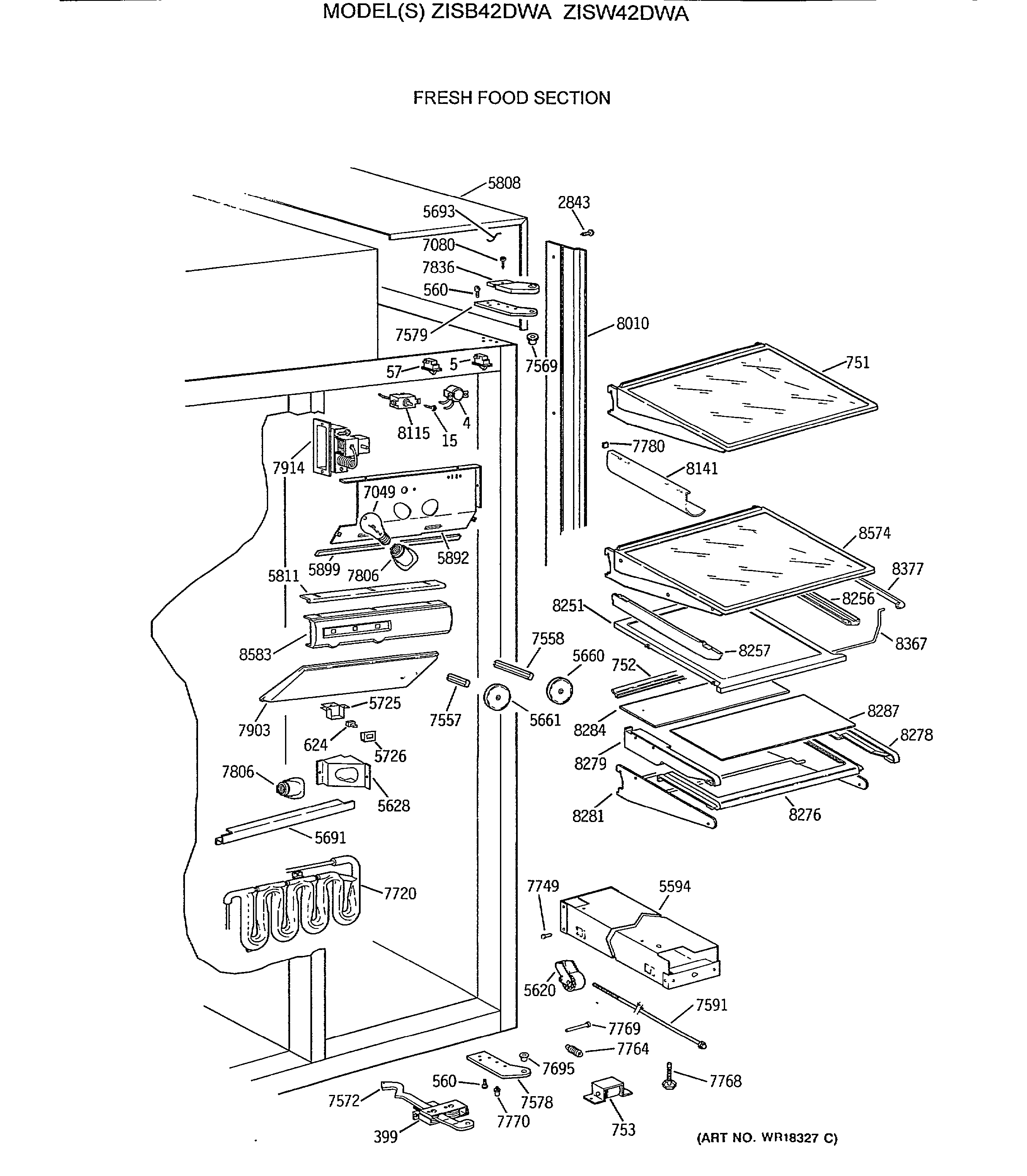
4THEMODISC
5WR23X37285 GE Light Switch
15WR1X5644 GE Screw
15WR51X322 GE Refrigerator Defrost Heater
57SWITCH-CRADLE-WATER SIDE
215WR32X1435 GE Refrigerator Egg Bucket
399CLOSURE FF DOOR
560WR1X1754D GE Refrigerator Screw Package
624SWITCH POWERSAVER
751GEN WR32X1538
752GEN WR32X1573
753WR2X9470 GE Refrigerator Front Wheel
900GEN WR72X0263
905GEN WR71X2663
915GEN WR72X0266
2843WR1X2130 GE Refrigerator Screw
5594GEN WR13X0671
5620WR2X8377 GE Refrigerator Wheel Assembly
5628GEN WR17X3027
5660GEN WR02X8600
5661GEN WR02X8601
5691GEN WR02X8961
5693GEN WR17X3617
5725GEN WR02X8918
5726HOUSING FRONT PSS
5808GEN WR17X3498
5811GEN WR14X0449
5892GEN WR02X9411
5899GEN WR38X2239
7080GEN WR01X1933
7271GEN WR01X5635
7557GEN WR02X8602
7558GEN WR02X8603
7569GEN WR02X8587
7572ACTUATOR ARM FF
7578GEN WR13X0643
7579GEN WR13X0642
7591WR01X10256 GE Refrigerator Base Shaft
7668GEN WR02X8963
7695BUSHING BTM HINGE
7720WR17X3226 GE Refrigerator Water Tank
7749BOLT ADJ HINGE-BASE
7758GEN WR01X1840
7764GEN WR02X8916
7768GEN WR02X7560
7769GEN WR02X8800
7770WR02X11209 GE Refrigerator Shear Pin
7780GEN WR02X8599
7806GEN WR02X8928
7836GEN WR13X0639
7845GEN WR02X8965
7903GEN WR02X8967
7914WR9X513 GE Refrigerator Damper
7974GEN WR02X8970
8010GEN WR17X3442
8115GEN WR09X0588
8141WINE RACK
8251GEN WR32X1540
8256GEN WR72X0259
8257GEN WR72X0258
8270GEN WR32X1543
8276GEN WR71X2657
8278GEN WR72X0260
8279GEN WR72X0261
8281GEN WR71X2656
8284GEN WR32X1542
8287GEN WR32X1541
8292WR72X10191 GE Refrigerator Slide Assembly 10"
8293WR72X10196 GE Refrigerator Slide Assembly
8300GEN WR17X4142
8301GEN WR17X4143
8302GEN WR02X9408
8303GEN WR02X9407
8304GEN WR02X9406
8305GEN WR02X9405
8308GEN WR32X1565
8310GEN WR32X1564
8350WR17X20773 GE Refrigerator Shelf Track
8367GEN WR02X9403
8377GEN WR02X9413
8574GEN WR32X1539
8583GEN WR02X9412
8646GEN WR32X1544
8658GEN WR02X9404