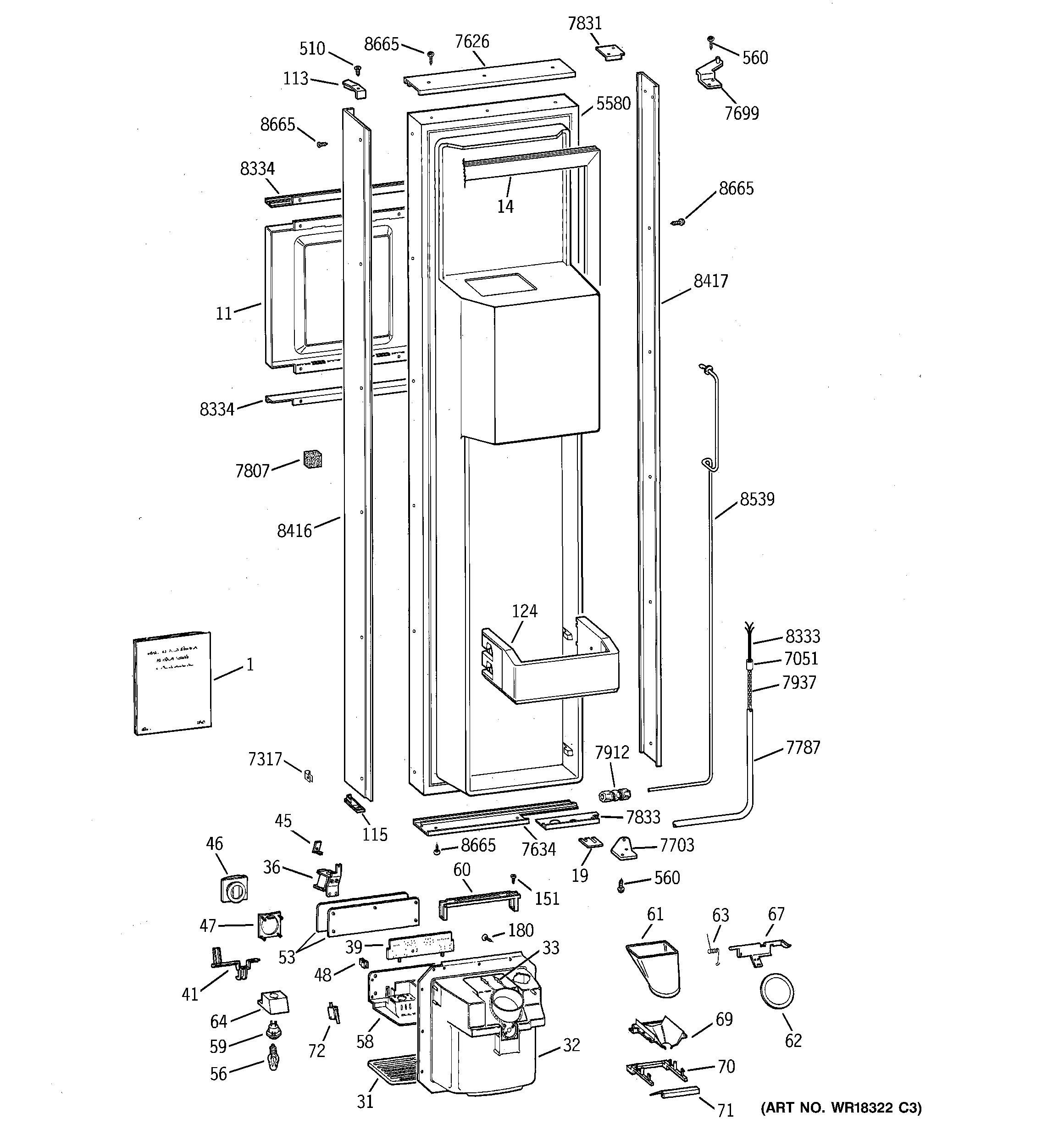
ZISW42DYA FREEZER DOOR