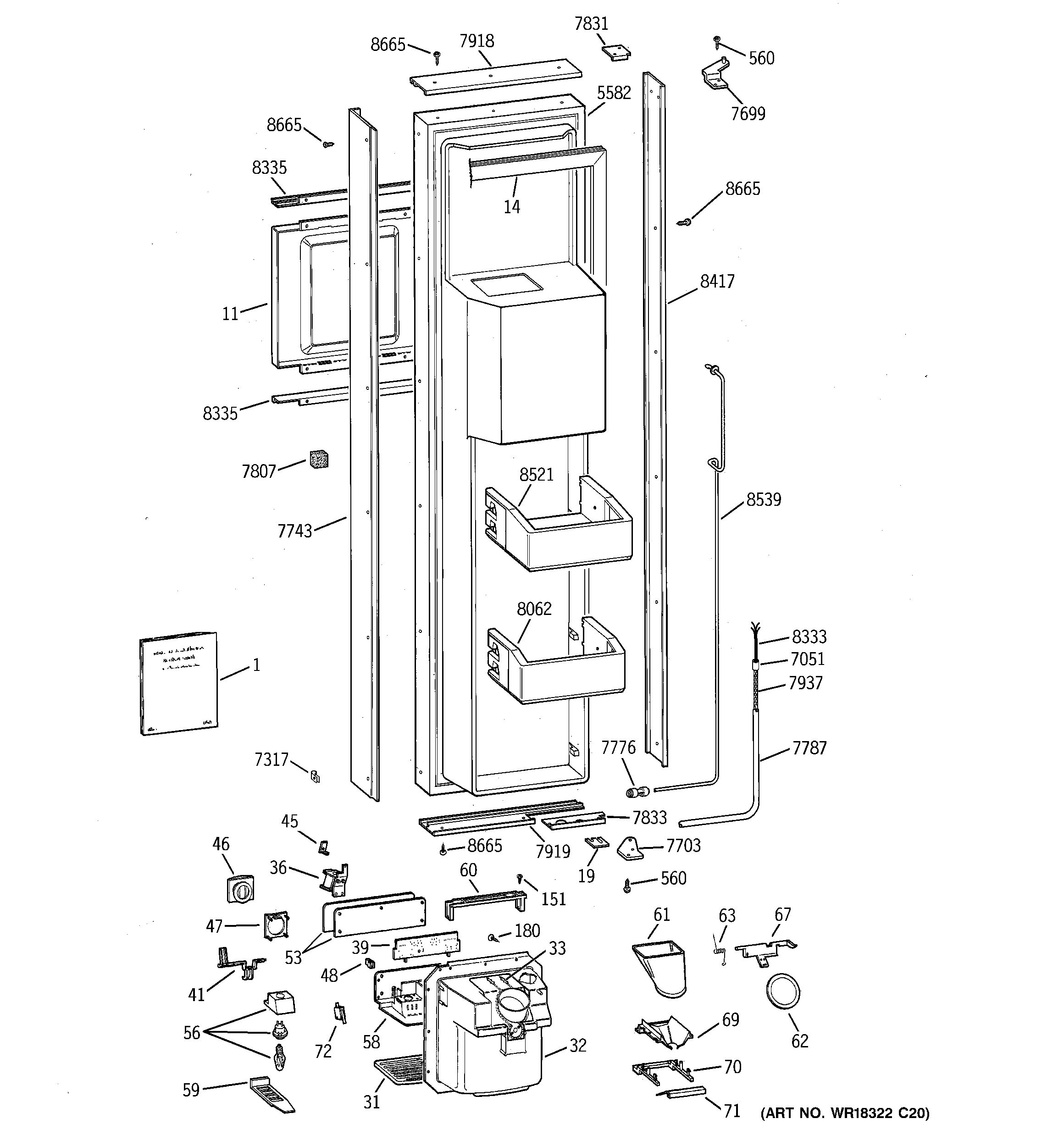
ZISW48DCA FREEZER DOOR